大地资源在线观看免费中文版,大地资源二高清在线观看播放,大地资源二在线观看官网,大地中文在线观看免费高清,大地影院免费高清电视剧大全,大地资源高清播放在线观看

歡迎蒞臨廣州譜源氣體有限公司
     

    粵佳新聞

    您現在的位置:首頁->粵佳新聞->

    波音擬造液氫H2無人機可持續飛行30天

    2008-11-28 8:53:00

    0

    來源:新浪科技

    科技時代_波音擬造液氫無人機可持續飛行30天(圖)

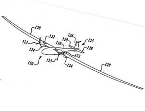
    波音公司新型無人機的設計簡圖

    科技時代_波音擬造液氫無人機可持續飛行30天(圖)

    2007年“西風”號在美國新墨西哥白沙導彈靶場進行試飛

      新浪科技訊 北京時間11月28日消息,據國外媒體報道,美國波音公司目前在設計制造新一代的無人駕駛飛機,這種小型無人機以液氫為燃料,有效載荷為450公斤。最引人注目的是,這種無人機最長可以在空中持續飛行約30天時間。

      波音公司將要研發的這種無人機以液態氫為燃料,機翼很長,機身上設有一個有效載荷艙。與其他大多數無人機不同的是,波音無人機將不再采用以機翼作為燃料儲備艙的設計思想,因為這種設計思想限制了機翼空氣動力學方面的性能。由于機翼不再需要承擔雙重任務,因此可以將它們制作得比其他無人機的機翼更長、更薄、更有效。飛機將使用真空瓶存儲液態氫,在引擎啟動時真空瓶會釋放液態氫為飛機引擎提供燃料。

      波音公司聲稱,這種飛機可以在18000多米的高空持續飛行10天左右,而如果在較低的位置,它甚至可以在空中飛行30多天。飛機最大有效載荷為450公斤。性能如此優越的飛機,其用途將不僅僅局限于軍事領域。人們可以利用這種無人機為在線地圖網站提供高精度航拍圖片,可以作為野生動物研究工作中監測或攝影的平臺,甚至還可以為某些遙遠的地區提供無線網絡接入。

      此前,英國制造的一架太陽能飛機創造了無人機持續飛行時間最長的世界紀錄。這架創紀錄飛機的名稱為“西風-6”(Zephyr-6),它在空中停留的時間超過3天,日照條件下充電獲得的電量幫助它熬過漫漫長夜。上次飛行是在美軍位于亞利桑那州的尤馬試驗場進行的。“西風-6”的飛行時間達到82小時37分鐘,打破了美國無人機“全球鷹”創造的30小時24分鐘的正式世界紀錄。值得一提的是,“西風-6”上一次--也就是2007年的最好成績就已經打破這一紀錄,當時的飛行時間為54小時。

      目前,美軍正在尋找為地面部隊提供支持的新技術和新工具,這其中就包括性能更強的新型無人駕駛飛機。無人機在戰場上能夠成為一個完美的偵察平臺。除此之外,它還可以用于戰場通訊和傳遞相關信息。(劉妍)

     
     
     
    廣州市譜源氣體有限公司    粵ICP備08114730號
    地址:廣州市增城新塘西洲大王崗工業區
    全國熱線電話:19876107228
    公司電話:19876107228
    公司傳真:020-82797482
    聯系郵箱:market@51qiti.com
    譜源氣體二維碼
    TOP
    欢迎光临: 阿巴嘎旗| 新泰市| 漾濞| 乐昌市| 遂川县| 邯郸县| 拉萨市| 中牟县| 龙南县| 独山县| 德令哈市| 甘泉县| 通榆县| 嘉祥县| 怀安县| 女性| 潼南县| 宜君县| 新津县| 陈巴尔虎旗| 乐山市| 绥芬河市| 和政县| 兰坪| 马鞍山市| 汕尾市| 扎囊县| 通许县| 甘肃省| 鄯善县| 台前县| 平罗县| 周宁县| 富宁县| 嵊州市| 林西县| 平阴县| 唐河县| 丹棱县| 资源县| 文成县|